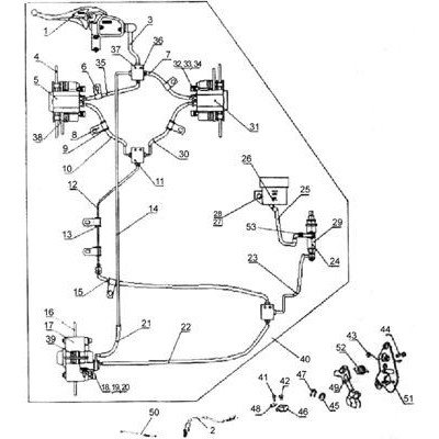
SYSTEME DE FREINAGE EURO 2 (NO SERIE LL8ATN4Z...)

07b007988b8b82d3e1fb7b9aede6b

Livraison offerte (France)

dès 100€ (hors véhicules)

Un conseil ?

03 27 23 84 76

Repère
Référence
Qte
vue éclatée
Dispo.
Prix
Repère
Qte vue éclatée
6

CLIP

DL-A220010-00
2
2,16 €